产品系列

products

关于磊森

About

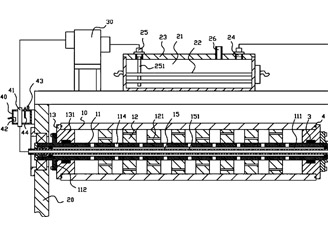
c7(中国)生产轧光机,压花机,压光机,橡胶辊,羊毛辊,镜面辊等制造企业,技术力量雄厚,不断开发新产品,产品出口东南亚国家,深受客户好评。本公司技术力量雄厚,不断开发新产品,努力拓展国内外两大市场。产品出口东南亚国家,深受国内外客户好评。 本公司遵循注重质量、信誉至上的宗旨,共同发展的原则,为广大用户提供产品和服务。我们将坚持诚信、合作、双赢和服务的理念 ,与业界同仁共创美好明天。 生产管理 每一个制造阶段都经过精心的设计, 每一个工艺过程都经过严格的控制。 

More

Advantage

我们的优势

客户案例

case

新闻资讯

news

Copyright © 2020,c7(中国) All Rights Reserved  公安备案号:苏公网安备32028102000237号  苏ICP备19056424号-3